一、馆客多体培版本新增“体培”模块

包含课程管理、学员管理、课表管理、教练管理、约课记录、上课记录、体培订单
二、课程管理
课程包含班课和私教课,课程图片和课程介绍用于小程序端的展示,课程时长为每节课的上课时长
三、教练管理
①新增教练包含头像、擅长项目、获得荣誉,用于场馆小程序展示

②约课设置用于1V1教练可约课时间

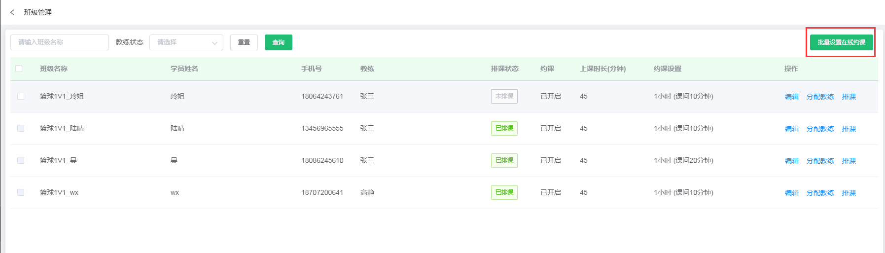
四、班级管理
①私教课报名后自动生成班级,培训班的课程需要单独创建班级

②培训班新增班级包含班级人数和教练,授课课时为每节课扣除的课时数量

③私教课报名后自动生成班级,可以分配教练

④批量设置在线约课为开启私教课约课配置,课程时长用于小程序端约课的间隔

五、学员分班(培训班课程)

报读培训班的课程后需要手动分配学员至班级里面
六、排课及课表展示
①班级排课用于课表的展示,班课开启勾选约课以后学员可以自行约课,无需分配到班级

②培训班课表颜色为蓝色,私教课课表为绿色,已点名的课表为灰色

③点击课表操作点名,支持批量标记学员到课状态,完成消课

七、学员管理
①新增会员绑定手机号用于小程序关联学员展示,多个学员可以绑定同一手机号

②学员列表可以操作课程报名和查看课程详情

③学员详情可以查看报课记录和上课记录

八、上课记录
①上课记录可以查询教练的点名记录

②点名时间可以查看详情,支持到课状态修改

九、小程序课程展示

需要到小程序装修底部菜单开启课程